150 t/h超高压再热循环流化床锅炉事故处理
2023-03-29 九游体育在线注册,九游体育(中国)
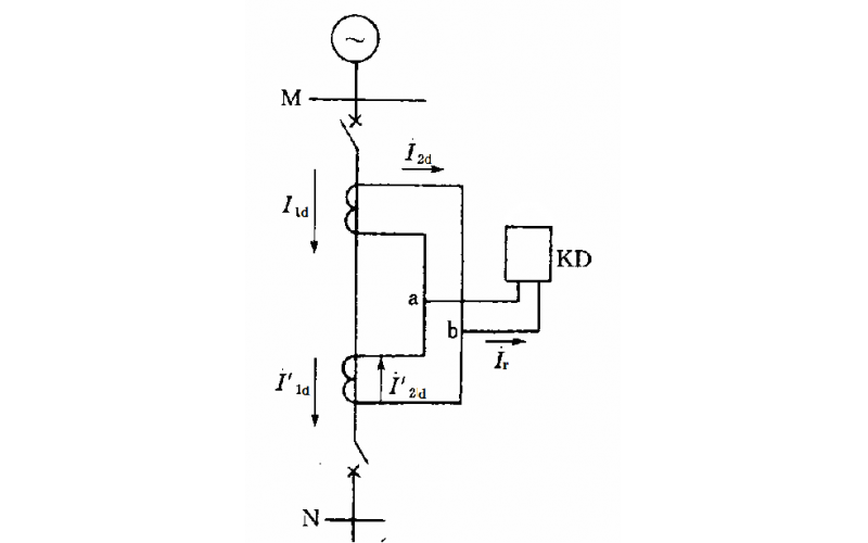
电力变压器的保护配置
2023-03-27 九游体育在线注册,九游体育(中国)
二次电缆屏蔽层接地方式比较分享
简述锅炉自然循环的形成?
叶轮给煤机检修知识分享
2023-03-24 九游体育在线注册,九游体育(中国)
给煤机故障,问题一定出在这里!
2023-03-24 201
控制循环流化床锅炉料层差压的意义?料层厚度对运行有何影响?